| YP系列(壓力式)水力測功器 | |||||||||||||||||||||||||||||||||||||||||||||||||||||||||||||||||||||||||||||||||||||||||||||||||||||||||||||||||||||||||||||||||||||||||||||||||||||||||||||||||||||||||||||||||||||||||||||||||||||||||||||||||||||||||||||||||||||||||||||||||||||||||||||||||||||||||||||||||||||||||||||||||||||||||||||||||||||||||||||||||||||||||||||||||||||||||||||||||||||||||||||||||||||||||||||||||||||||||||||||||||||||||||||||||||||||||||||||||||||||||||||||||||||||
| 來源: 點擊數:35748次 更新時間:2024/2/4 9:27:21 | |||||||||||||||||||||||||||||||||||||||||||||||||||||||||||||||||||||||||||||||||||||||||||||||||||||||||||||||||||||||||||||||||||||||||||||||||||||||||||||||||||||||||||||||||||||||||||||||||||||||||||||||||||||||||||||||||||||||||||||||||||||||||||||||||||||||||||||||||||||||||||||||||||||||||||||||||||||||||||||||||||||||||||||||||||||||||||||||||||||||||||||||||||||||||||||||||||||||||||||||||||||||||||||||||||||||||||||||||||||||||||||||||||||||
一、概述 YP系列(壓力式)水力測功機, 國外在60、70年代已廣泛使用。我國在85年通過許可證貿易, 引進了西德策爾納(zoller)公司技術, 開發生產該型號的先進測功機。目前該工藝技術在國內已經成熟應用于全系列產品生產。國際上,有英國弗魯特,美國的開恩公司。另外,國內有兩家通過仿造,也已小批量生產這種系列產品。我公司通過消化、吸收國外技術,進行全新優化設計、生產,可提供全系列產品。
YP系列水力測功機共有12個規格,均采用電動排水蝶閥控制。即通過改變蝶閥的開度來改變吸收功率的大小。制動功率范圍從20KW到5900KW,品種齊全,國內外用戶根據自己發動機功率范圍選擇合適的機型選購。
該產品主要用來檢測各種柴油機、汽油機、電動機等動力機的有效功率。是動力機特性試驗、傳動機械的效率試驗中不可缺少的測試設備。
該產品基本型為單方向測試,用戶如需同時雙向試驗訂貨時請提出要求后,我公司給予專門定制。
二、技術規范
1.主要特點 2.測量性能指標
3.技術參數
本表單位:mm
4. 特性曲線
三、測功機的結構
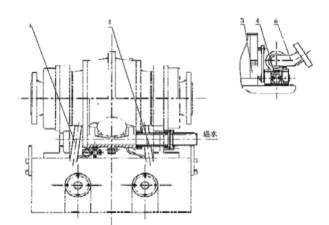
YP型水力測功機主要由機體部件、測力機構部件、進排水部件、校正部件、電動排水閥部件、自動調節裝置部件和潤滑部件等組成。見圖二(a)、(b)。
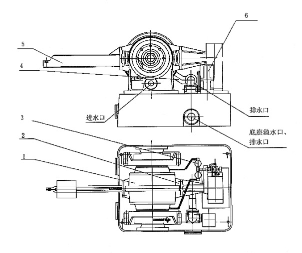
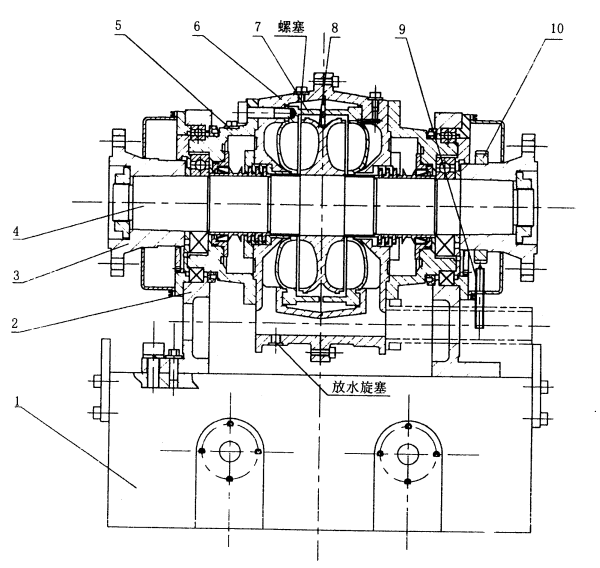
圖二(b)Y880-S、Y1900-S、Y3300-S水力測功機外形示意圖 1、機體部件 2、測功部件 3、潤滑部件 4、進排水部件 5、校正部件 6、自動調節裝置部件
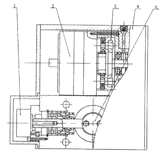
圖三(a)YP1900機體部件結構示意圖 1、底座 2、左右軸承座 3、主軸部件 4、聯軸節 5、軸承壓板 6、骨架油封 7、軸套 8.9、雙金屬軸套 10、左右軸承外殼 11、左右側殼 12、螺塞 13、轉子 14、外殼 15、封水圈 16、測速齒輪 17、轉速傳感器 18、溢水管 19、旋塞
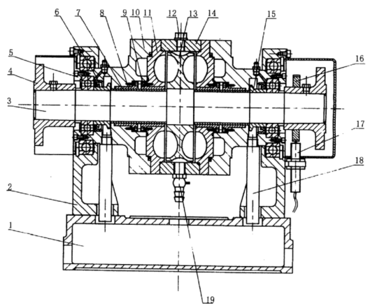
> 圖三(b)YP1900機體部件結構示意圖 1、底座 2、軸承座 3、聯軸節 4、主軸部件 5、軸承殼 6、外殼 7、側殼 8、轉子 9、轉速傳感器 10、測速齒輪
2.測力機構部件
測力機構部件用于測定制動力,見圖四(a)、(b)。
主要由制動臂、拉壓力傳感器和活節螺栓等組成。機體部件所產生的制動力矩與制動臂上拉壓力傳感器的反力矩相平衡,由電子數字顯示儀器顯示制動力的大小。工作過程中為保護傳感器,在一端活節螺栓處加裝有尼龍圈或橡膠圈,起到緩沖作用,同時為防止運輸中傳感器受振動后損壞,設有支撐固定保護裝置,在使用中須松開固定傳感器的螺栓,把活動板拉向一邊,無活動板的只要旋去螺栓即可。
圖四(a)YP20、YP60、YP120、YP250、YP380、YP520、YP660 測力機構部件示意圖 1、制動臂 2、拉壓力傳感器 3、活節螺栓 4、支承座 5、保護罩 6、活動板 7、螺栓
圖四(b)YP1900測力機機構示意圖 1、制動臂 2、固定螺栓 3、活節螺栓 4、拉壓力傳感器
3、 進排水部件
進排水部件由進水部件與排水部件組成。主要用于測功機工作時低溫水的進入與高溫水的排出,見圖五(a)、(b)。
YP60、YP120、YP250、YP380、YP520、YP660型水力測功機的進水部件由支架、管道、彎管組成,彎管與機體部件左右軸承外殼連接形成測功機的進水管路。
排水部件由支架、管道、彎頭組成。彎頭與外殼連接形成測功機的排水管路。機體部件中甩水圈甩出的水經溢水管流入底座后排出。
YP880、YP1200、YP1900、YP2500、YP3300、YP5900型測功機的進水部件由進水閥部件、進水管等組成。排水部件由排水蝶閥、排水彎管、排水執行器等組成。
圖五(a)Y1900進排水部件示意圖
1、溢水管 2、透氣管 3、進水部件(5、彎管 6、管道 7、支架)4、排水部件(8、支架 9、管道 10、彎頭)
圖五(b)Y880-S、Y1900-S、Y3300-S進排水部件示意圖
1、溢水管 2、進水部件 3、排水執行器 4、排水蝶閥 5、排水彎管
4、 校正部件(靜校部件)
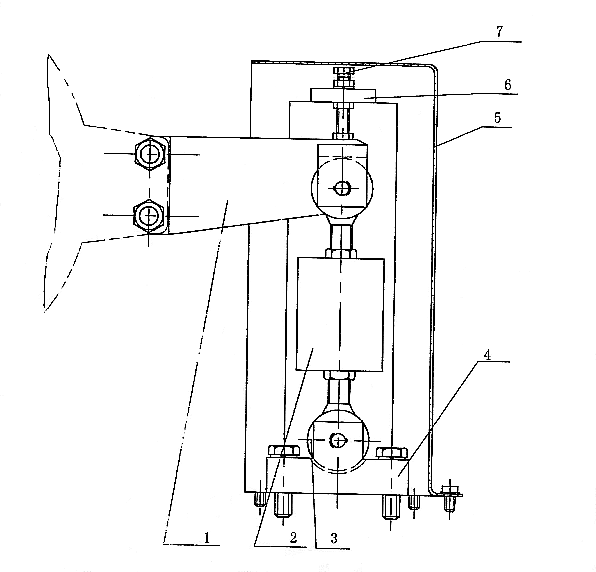
校正部件用來作為測功機靜校之用,見圖六。
它主要由校正臂、吊勾部件、吊桿、托盤及砝碼等組成。
測功機主軸中心到靜校臂三角刀口距離L值及砝碼總重量W見下表。
L及W值
圖六 校正部件示意圖
5、 電動排水閥部件
DPF電動排水閥部件用來自動控制排水閥的閥片開度位置,調正測功機內腔壓力,使水環厚度隨之產生變化而改變工況,即改變吸收負荷的大小,見圖七。
主要由殼體、力矩電機、行星齒輪副、蝶閥、電位器等組成。與電控柜配套,可實現隔室操縱閥門開度。
YP60、YP120、YP250、YP380、YP520、YP660型水力測功機均采用此種形式來控制排水蝶閥。
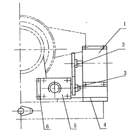
圖七 DPF電動排水閥部件示意力圖 1、電位器 2、力矩電機 3、行星副 4、殼體 5、蝶閥
6、 自動調節裝置部件
自動調節裝置部件是通過排水執行器來控制排水蝶閥的閥片開度位置,調節測功機內腔壓力來改變負荷的大小,見圖八。
圖八 自動調節裝置部件示意圖 主要由排水執行器、排水蝶閥、支承板、齒輪副等組成。 YP880、YP1200、YP1900、YP2500、YP3300、YP5900型水力測功機均采用此種形式來控制排水蝶閥。 YP880、YP1200、YP1900型測功機配我廠生產的YZ60A排水執行器,YP2500、YP3300、YP5900型測功機配YZ20排水執行器。
7、潤滑部件
潤滑部件主要用于測功機滾動軸承潤滑。
YP60、YP120、YP250、YP380、YP520、YP660型水力測功機潤滑部件均采用脂潤滑,其位置見圖二(a)。可用壓力加油器(油輪)直接加注ZL45-2鋰基潤滑脂,具體要求見附表4。
YP880、YP1200、YP1900、YP2500、YP3300、YP5900型水力測功機潤滑部件見圖二(b),根據用戶要求及不同工況可分別采用油霧潤滑、滴油潤滑及泵油潤滑。
(1)油霧潤滑
當測功機在中高速工作時,可采用油霧潤滑。油霧潤滑主要由氣源、減壓閥、油霧器、氣管等組成。單臺測功機可采用V-01/10壓縮機作為氣源。測功機在開動之前,必須首先保證油霧系統正常工作。
油霧潤滑詳見油霧潤滑裝置使用說明書。
(2)滴油潤滑
當測功機在偏低速工作時,可采用滴油潤滑方式,而不采用油霧潤滑或泵油潤滑。
如YP1900型水力測功機的工作轉速在2200r/min以下;YP3300 型水力測功機的工作轉速在1800r/min以下時,均可采用滴油潤滑。
(3)泵油潤滑
當測功機在偏高轉速工況下,為了不使軸承溫度上升過高,可采用泵油潤滑。
泵油潤滑主要由泵站與進出油路系統組成。
泵油潤滑必須先起動泵站,使測功機的軸承得到潤滑,才能開動測功機主機,加水進行試驗。泵油進油壓力可通過LI-10節流閥調節,壓力控制在0.01~0.05Mpa范圍內。建議只要滿足工況,壓力盡可能偏低些,以減小泄漏。
四、測功機的工作原理和功率計算
1、 工作原理
動力機通過聯軸節帶動測功機主軸上的轉子組件同步旋轉,攪動了工作腔中的水。由于轉子旋轉所產生離心力及轉子凹坑的作用,水在側殼與轉子凹坑之間產生強烈的水渦流,它給外殼一轉動力矩,使動力機的轉矩由轉子傳給外殼,裝在外殼殼體上的制動臂將隨著轉動一角度,從而將制動力傳給與制動臂連接的拉壓力傳感器,通過電子數顯裝置顯示其制動力的大小。
測功機通過電動排水閥控制蝶閥開度,或通過自動調節裝置控制排水執行器,由排水執行器控制蝶閥的開度,以改變測功機工作腔內水的壓力來改變吸收功率的大小。同時測功機的轉速可由測速傳感器測得,在電子顯示儀器上顯示出來。
由于是壓力控制式水力測功機,又是通過改變蝶閥開度來調整工作腔壓力的,整個過程必須是自動閉環控制系統,故壓力式YP型測功機必須配備具有自動控制功能的電控柜才能運行工作。
2、 計算
(1)功率計算
由結構設計保證,當靜校臂長為973.8mm時,測功機的有效功率可用下列簡易公式來計算:
P= F n/ 10000 (千瓦)
式中:F---負荷(牛頓)
n---轉速(轉/分)
(2)扭矩計算
M=F.L (牛.米)
式中:F---負荷(牛頓)
L---計算臂長為0.9549(米)
五、測功機的供水系統
測功機的供水可用循環供水系統。采用高位穩壓水箱供水或低位穩壓水箱加管道泵增壓供水。一般北方室內水箱即采用低位穩壓水箱加管道泵的形式(見圖八)。
測功機進水口處進水壓力可大于等于0.05MPa,一般為0.05~0.15MPa, 當測功機在滿水線上工作時,要求供水壓力高些;低于滿水線工作時,水壓可低些。供水壓力應保持穩定,壓力波動的范圍為±5KPa。測功機工作時,供水壓力的高低,直接影響測功機側殼與轉子凹坑工作腔的氣蝕程度。
測功機工作過程中,進水不能間斷。進水量大約在每千瓦小時20公升左右,排水溫度不能超過70℃,一般經濟排水溫度在55~60℃之間。
循環供水系統主要由散熱水池、水泵、穩壓水箱、進排水連接管路、水壓表、閥門等組成。水池的容積應考慮散熱和測量最大功率的耗水量,并有一定的富余量以補償循環過程中水的耗散,在條件許可的情況下,建議盡量加大水池容積。水箱的容積應考慮最大耗水量時的穩壓供水(耗水量見技術參數表)。在水泵供水大于測功機的最大功率的耗水量時,穩壓水箱的容積可推薦為2~5 M3 左右,耗水量小的可取較小值,耗水量大的可取較大值。水池的容積一般為水箱容積的5倍左右。有條件的話,可盡量大一些。 進、排水管口徑應適應測功機進排水口口徑的要求。 進水管路上應串接一只閘閥和一只水壓表。閘閥用于調節進水壓力,對于固定的發動機型,一般一次調定后就不再動了,故該閘閥可裝在任何方便的位置,而測功機進水管上的球閥則用于啟閉供水。 排水管路一般取比進水管路更大的通徑。排水管可用陶土管通向水池,使之循環。若用戶水源豐富亦可排入下水道。排水管路應注意兩個問題,一是排水不能與溢水管相串通,以防排水壓力過高向溢水管反向灌水;二是排水管道如不通暢,會造成背壓過大,影響測功機正常測試。因此,管路安排應盡可能短且彎頭要少。 循環水經除垢器后作為測功機進水,將減少測功機內水垢的形成。如無水質處理設備,允許用自來水或清潔的河水,但不得有泥沙等雜質混入。不宜使用海水。可根據不同地區的水的PH值是否偏高而考慮是否需要安裝除垢器。
圖九 供水系統示意圖
六、測功機的安裝
1、 臺架基礎
試驗臺臺架基礎用于安裝測功機和發動機。基礎設計好壞將對試驗質量產生很大影響,在臺架基礎設計時,應注意考慮以下幾個方面。
(1)試驗臺應靠近有水源的一邊,基礎與墻壁距離不少于1.5米,并應注意使測功機離開墻壁距離留有校正臂的安放位置。整個試驗室要求通風好,光線足,照明設備符合規定要求。
(2)臺架基礎應有足夠的質量,以使試驗臺的振動降至最低限度。地基基礎用高于90號混凝土澆注,配料按體積為1份水泥:2.5份黃沙:4份石子。基礎的澆注應考慮到被測對象,使安裝好的測功機能試驗各種型號的動力機。基礎上的地腳螺栓位置可按圖十施工。(圖十為水力測功機安裝地基圖)
(3)應采取有效的隔振措施,減少試驗臺振動能量向外界傳遞。簡單的辦法是在混凝土基礎下面墊一層黃沙,并在基礎四周開200mm寬、800mm深的防震槽,用木屑或爐渣充填,瀝青蓋頂。
(4)地下埋線管應在澆注混凝土前進行,動力機排氣管如安裝在地下時,則應和線管相距0.5米以上。
2、測功機的安裝
在緊固地腳螺栓前需用水平儀校正測功機在兩個互相垂直方向的水平,其安裝精度為1/1000,以保證測功機測試的靈敏度和正確性。
3、動力機的安裝
動力機應按動力機安裝要求進行。對一些常變換動力機型號的臺架,動力機最好安裝在三個自由度均可變位的附件支架上(我廠有此產品供應),使安裝和調整更方便。發動機安裝油門執行器時,要確保發動機調速手柄行程在油門執行器行程之內。
4、聯接
測功機與動力機連接,應采用萬向聯軸器或彈性聯軸器。當使用剛性聯軸接時,應特別注意二軸安裝的同軸度,一般要求同軸度在Φ0.05mm以內。
無論哪種連接方式,都要盡可能減少作用于測功機上的附加力矩和軸向力,以免引起發熱或發生設備、人生事故,從而無法正常測試。建議在靠近測功機端加裝一輔助支座,為一種較好的方法。
在出廠試驗中,測功機作為負載,不考慮功率的損失,或者說,測試精度要求不太高的情況下,小型動力機與測功機的連接,采用皮帶柔性傳動或胎型彈性聯軸器也是可行的。
圖十 水力測功機安裝地基圖
安裝地基尺寸、進排水口徑及位置見表。 YP型水力測功機安裝地基尺寸及測功機底座溢排水口位置一覽表
YP型水力測功機進排水口徑及位置一覽表
本表未注單位:毫米。
七、測功機的校正
靜校臂一般設計制作為973.8mm。使砝碼盤上放1公斤砝碼,相應顯示10牛頓;2公斤顯示20牛頓......。
由于結構原因,如臂長放大或縮小一定的倍數值,則顯示值也應相應放大或縮小同樣的倍數。
具體操作如下:
1、安裝靜校工具:校正臂、掛籃;
2、儀器數字標定請閱讀EMC900控制儀說明書進行校正操作;
3、校正結束請拆除校正工具;
4、必須重新啟動EMC900控制儀,待100秒倒計時結束方可正常使用。
八、測功機的使用
1、開機前
(1) 松開傳感器保護裝置的螺栓,使定子呈自由狀態。
(2) 檢查聯軸節與主軸的聯接情況。
(3) 檢查動力機與測功機的同軸度。
(4) 檢查進、出水管道系統的聯接及流通情況。
(5) 外表擦洗干凈,各潤滑點加注潤滑油,并轉動主軸,檢查轉子與其它部件是否有碰撞和轉動不靈活等現象。
(6) 校正符合要求。
(7) 全開排水蝶閥(負荷最小位置)。
2、開機試驗
(1) 開動動力機帶動測功機主軸以同一轉速旋轉,待動力機運轉正常后,即可進行試驗。
(2) 全開進水閥,調節排水蝶閥開度大小,直到與動力機的工況相一致。
(3) 在做發動機外特性、調速特性、負荷特性及其它特性試驗時,可選擇與測功機配套的電控柜控制的恒位置、恒扭矩、扭矩平方特性、恒轉速四種控制方式。
(4) 對于某些發動機,有時在一固定的測功機供水壓力下不能滿足全部工況點的試驗要求,這可在不同的試驗工況下適當調節供水壓力。
3、試驗結束
(1) 關閉進水閥。
(2) 全開排水閥。
(3) 發動機在低速下運行幾分鐘后停機。
(4) 旋轉傳感器保護裝置,使定子呈現鎖住狀態,傳感器不受力。
(5) 切斷與電控柜相連的電源。
(6) 停止潤滑系統供油。
(7) 如較長時間不做試驗,需把測功機底部放水閥打開,放去積水,有條件的話可旋開外殼上端螺塞(除YP1900 外)用壓縮空氣吹凈積水,螺塞位置見圖三(a)、(b)。
使用中為防止軸承進水,請務必記住!!!“先開機,后放水;先關水,后停機”的原則。保證測功機在轉動狀態下進水,但又應防止測功機在無水狀態下連續運轉時間過長而燒壞密封部件,(要求無水狀態工作時間不大于2分鐘)。
| |||||||||||||||||||||||||||||||||||||||||||||||||||||||||||||||||||||||||||||||||||||||||||||||||||||||||||||||||||||||||||||||||||||||||||||||||||||||||||||||||||||||||||||||||||||||||||||||||||||||||||||||||||||||||||||||||||||||||||||||||||||||||||||||||||||||||||||||||||||||||||||||||||||||||||||||||||||||||||||||||||||||||||||||||||||||||||||||||||||||||||||||||||||||||||||||||||||||||||||||||||||||||||||||||||||||||||||||||||||||||||||||||||||||
| 【刷新頁面】【加入收藏】【打印此文】 【關閉窗口】 | |||||||||||||||||||||||||||||||||||||||||||||||||||||||||||||||||||||||||||||||||||||||||||||||||||||||||||||||||||||||||||||||||||||||||||||||||||||||||||||||||||||||||||||||||||||||||||||||||||||||||||||||||||||||||||||||||||||||||||||||||||||||||||||||||||||||||||||||||||||||||||||||||||||||||||||||||||||||||||||||||||||||||||||||||||||||||||||||||||||||||||||||||||||||||||||||||||||||||||||||||||||||||||||||||||||||||||||||||||||||||||||||||||||||
| 上一篇:兩廂溫度沖擊試驗箱 下一篇:YPS型單向水力測功機 |
服務熱線:400-111-3688 (24小時)
工作時間:7:30-11:30 12:30-16:30 (雙休)


